Le protezioni ai bordi, ad es. i parapetti di sommità, sono regolati dalla normativa UNI EN 13374. La norma identifica alcuni parametri fondamentali utili per la scelta del parapetto da utilizzare:
Hf altezza di caduta, misurata sempre verticalmente (è quindi la proiezione verticale del possibile percorso di caduta);
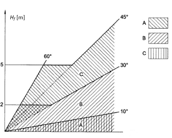
α è l’inclinazione in gradi del piano di lavoro (pertanto corrispondente all’inclinazione della copertura se la protezione ai bordi è installata sul tetto).

Figura 1 – Simbologia adottata dalla norma UNI EN 13374 – con (1) è indicata la protezioni ai bordi

Figura 2 - Classi per l’utilizzo a inclinazioni ed altezze di caduta
Sulla base di questi dati caratteristici del sistema di protezione, la norma definisce 3 classi:
Classe A: può essere utilizzata se , e non deve essere installata a più di ±15° dalla verticale. Funziona per soli carichi statici;
Classe B: si può utilizzare per e qualsiasi altezza di caduta, oppure per e Hf<2m, e non deve essere installata a più di ±15° dalla verticale. Funziona per carichi sia statici che dinamici;
Classe C: può essere utilizzata per e qualsiasi altezza di caduta, oppure per e Hf<5m. Può essere installata con un’inclinazione massima rispetto alla verticale pari a (pertanto o verticale o ortogonale al piano di lavoro). Quest’ultima classe ha requisiti ancora più stringenti per il carico dinamico.
Di conseguenza, se e l’altezza di caduta Hf>5m, il parapetto non è la protezione adatta. L’altezza di un sistema di protezione dei bordi deve essere maggiore di 1m.
La classe B deve essere progettata sia per carichi statici che dinamici, come richiesto dal §5.4.1 della UNI EN 13374. Nel dettaglio, la norma richiede che una protezione di classe B debba essere in grado di assorbire un’energia cinetica di 1100 J in qualsiasi punto fino ad un’altezza di 20cm dal piano di lavoro, e di 500 J in tutte le parti più alte. Il riferimento all’energia cinetica è necessario poiché la protezione è atta ad assorbire l’energia derivante dall’urto di un corpo in caduta.
Il §6 della UNI EN 13374 specifica i requisiti del calcolo, da effettuarsi per gli Stati Limite Ultimi (SLU) con carichi fondamentali e accidentali (ad es. arrampicate esterne) e per gli Stati Limite di Servizio (SLE) per il controllo dell’inflessione elastica del sistema di protezione.
Le verifiche statiche sono da condursi secondo le regole usuali utilizzate per il ponteggi, utilizzando le norme abituali (NTC2018 e Eurocodice 3 per l’acciaio). I carichi allo Stato Limite Ultimo che devono essere considerati sono:
Carichi concentrati FH1, agenti ortogonalmente al parapetto, pari a 0.3kN (eccetto per il fermapiede FH2, 0.2kN)
Carico massimo del vento
QMW, agente
ortogonalmente al parapetto verso l’interno e verso l’esterno,
pari a 0.6kN/mq ove non si verifichino condizioni di vento più
onerose. 600 N/mq rappresentano infatti una pressione dinamica ad
un’altezza di 40m, un periodo di esposizione di 6 mesi e una
velocità del vento di 32m/s.
In combinazione, questi
primi 2 carichi sono applicati come in figura seguente (Qww è
pari a 0.2kN/mq):
(a) carichi per
tutte le altre parti, (b) carichi per il fermapiede
Carico parallelo al parapetto FH1, applicato per almeno un campo (da montante a montante), pari a 0.2kN;
Carichi accidentali FD,
applicati verso il basso in ogni apertura maggiore di 10cm, dovuti
ad esempio all’arrampicata esterna al parapetto. Sono pari a
1.25kN e sono applicati come in figura, variando l’angolo
rispetto alla verticale di ±10°.
Per la verifica dinamica del parapetto sono sempre necessarie delle prove, conformi al §7.5 della norma EN.
Per ulteriori approfondimenti, si rimanda alla guida tecnica e al documento sui parapetti di sommità predisposti da INAIL.